2019-08-09
坚实平整(平整度要求:3m直尺误差不大于3mm),有一定排水坡度(一般60/00,必须保证泄水),强度达建筑混凝土标准C25强度,浇制后保水养护不少于7天,整体固化养护期不少于28天(保证水泥的固化时间,让水泥在固化过程中产生的白色粉末完全析出于基础表面)。新水泥基础浇制后必须切割合理温度伸缩缝,原则以不大于6x10m为一方块切割,若分板块浇制的板块间必须切割温度缝,切割温度缝要求宽为6~8mm,深度不少于30mm,(保证基础热胀冷缩能集中在温度缝中变化,不回导致基础其它地方开裂)。
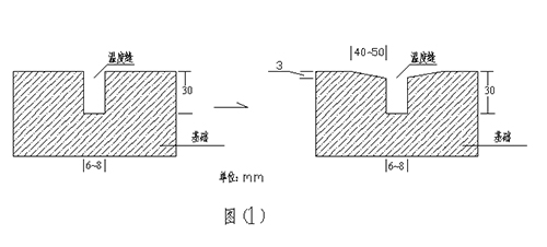
a、磨缝:把温度缝两边的基面各宽40~50mm磨成斜口深3mm(如图(1)示),使温度缝表面成“V”型,(各40~50宽是提高填缝胶与基面的粘接面积,增加其粘接力,3mm深是保证填缝胶厚度而不占用弹性层的位置,保证整体的缓冲性好,使基础的热胀冷缩不影响硅PU表面)。
d 、填缝:底涂固化后,同填缝胶加10%-20%稀释剂(二甲苯或醋酸乙酯)稀释后用毛刷涂刷于温度缝内两侧,然后填缝泡棉对折轻挤满温度缝(填缝泡棉是可拉伸、可压缩的,有效减少基础热胀冷缩变化影响表面外观)露出部分填缝泡棉用手提磨机磨平,再用填缝胶分两道以上把“V”型槽填平(一次填的厚度不大于1.0mm,太厚会发泡,影响填缝胶的性能)。(如图(2)示)
三、硅PU面层施工:(弹性层→加弹层→面层→划线)
1、弹性层:d、场地铺设后需保持5天以上才能投入使用。
文章来源:http://dghbfwj.com/,转载请注明出处。
上一篇:篮球场套塑围网施工方案
同类新闻
News最新新闻
News联系我们
Contact us